Folge dem Video um zu sehen, wie unsere Website als Web-App auf dem Startbildschirm installiert werden kann.
Anmerkung: Diese Funktion ist in einigen Browsern möglicherweise nicht verfügbar.
Nur sagt mir meine Logik, daß das Knacken dann auch im Wiegetritt auftreten sollte. Tut es aber nicht.Bei Dir knackts aber bei jeder Kurbelumdrehung...wird also eher Tretlager oder Pedal sein...
.Macht Sinn.Nimm einfach mal einen Sattel mit Stütze von nem Rad das nicht knackt
Mein anderes 26er hat ne Reverb.wobei ich mir darüber bewusst bin, dass es Menschen geben soll die nur ein Rad haben......
Aber weil ich fast nix wegwerf, hab ich noch ne passende alte Stütze. Werde vorher aber wohl das Sattelrohr versuchen, richtig sauber zu machen.Also ich hab mich mit meinen Rädern ganz basisdemokratisch auf Sattelstützen-ø 31,6mm geeinigt. Bis auf eines halten sich auch alle brav dran!!!Mehrere Räder nützen Dir aber auch nix wenn da nix kompatibel ist...?
Viel zähes Fett auf den Cantibolzen kann schon gegen Quietschen helfen, aber leider nicht immer. Wichtig bei Cantis ist die leichte Schrägstellung der Beläge zur Felge, so ca. 1mm reicht:nimm mal die Bremsarme runter und schieb sie mit viel Fett wieder drauf.
Ich würde auch die Pedale zu den Verdächtigen zählen. Und erst nach deren Überprüfung zum Tretlager übergehen.Verdacht auf Tretlager

Kann ich hiermit bestätigen. Die Hälfte der Kellerzeit ging dafür draufNur die leidige Einstellerei ist bei Cantis halt stellenweise auch richtig nervenzerfetzend.

Meine beiden sollten auch 31,6 mm haben. Trotzdem hab ich die Stütze vom anderen Rad nicht reingekriegt (jedenfalls nicht ohne brutale Gewalt. Scheint sich nur um 1/10-2/10 mm Unterschied im Durchmesser zu handeln). Also die bisherige gereinigt und gefettet, Sattelrohr mit Lappen gereinigt. Scheint geklappt zu haben. Nach kurzer Proberunde ist Ruhe im Karton.Also ich hab mich mit meinen Rädern ganz basisdemokratisch auf Sattelstützen-ø 31,6mm geeinigt. Bis auf eines halten sich auch alle brav dran!!!




Ich geb Dir Bescheid, wenns bei mir wieder mal so weit ist. Anschliessend zeig ich Dir auch ein paar von unseren Trails am RotenfelsSchaltung und Umwerfer einstellen mach ich nebenbei...

mal sehen ob ich es bis an den Wannsee schaffe. nach 4km Regen nun bei knapp 30 Grad ausdünsten. 

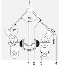
Urzeit Tool in Aktion: damit stellt man die Schrägstellung der Klötze und Position zur Felge einUnd ich dachte bisher, Schaltung und Umwerfer sauber einzustellen, wär die hohe Kunst des Bikeschraubers.
Meine erstmalige Cantilever-Aktion heute (hatte bisher nur V-Brake und Scheibenbremse) lief ja unter dem Motto: Hauptsache es funktioniert.
Was die Nutzung von Klemmzwingen und Urzeitentool anbelangt, das hätte ich gern mal in Aktion gesehen. Irgendwie kann ich mir nicht vorstellen, was man damit an der Bremse macht.
Eilt aber nicht.


Tja, so kann man sich täuschen.Und ich dachte bisher, Schaltung und Umwerfer sauber einzustellen, wär die hohe Kunst des Bikeschraubers.
Da viele Anwender und erst recht auch Radlmechaniker (wer will wohl zwei Handwerkerstunden für Bremse einstellen bezahlen?) an dieser Stelle extreme Schwierigkeiten hatten, war dann die Einführung der V-Brake tatsächlich ein spürbarer Fortschritt.Da trau ich mich nicht ran, daher hatte ich das gar nicht auf dem Schirm.Für mich steht aber als höchste Kunst des Bikeschraubers das saubere Einspeichen von Laufrädern.


Ich auch nicht. Ich mag mir das aber auch nicht antun, einfach weil ich's so selten brauche. Und bisher hatte ich immer einen top Einspeicher in Augsburg der mir pro Laufrad nur 20€ berechnet hat: Da wär ich ja blöd das selber zu machen! Den gibts aber leider nicht mehr.Da trau ich mich nicht ran, daher hatte ich das gar nicht auf dem Schirm.
Doch, wir sind hier ja nicht bei den Klassikern.Und Bremse entlüften paßt ja nicht so ganz hier ins Forum


Wurde gerade genannt. Vorher kämen aber noch die pösen E-Bikes!Schade, daß ich schon so alt bin. Kann von dem, was ich hier so im Forum inzwischen gelernt habe, vermutlich gar nicht mehr alles praktizieren. Oder gibts Rollstühle mit Fahrradtechnik

Nee, glaub ich eher nicht.Vorher kämen aber noch die pösen E-Bikes!
Für mich steht aber als höchste Kunst des Bikeschraubers das saubere Einspeichen von Laufrädern.
Für Standardnippel braucht man einen modifizierter -Schlitzschraubendreher, bei Spezialnippel entsprechend passenden Bit.mal so aus Neugier, was benötigt man fürs Einspeichen für Werkzeug?