Ich war zu Beginn auch begeistert. Aber das hat dem ganzen Eindruck einen ordentlichen Knick gegeben.
Bedenkenlos empfehlen würde ich Niner dahingehend auch nicht mehr.
Aber ich kann auch was positives berichten. Im Nachbarthread wurde mir zielführend geholfen.
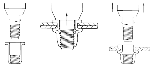
Da es sich um Gewindenieten handelt, kann man diese logischerweise nachziehen.
Gesagt, getan —> fest!
Bedenkenlos empfehlen würde ich Niner dahingehend auch nicht mehr.
Aber ich kann auch was positives berichten. Im Nachbarthread wurde mir zielführend geholfen.
Da es sich um Gewindenieten handelt, kann man diese logischerweise nachziehen.
Gesagt, getan —> fest!
Zuletzt bearbeitet:
